- Ön itt van:
- Gép,Szerszám
- / Kéziszerszám
- / Motorkerékpárokhoz
- / Hajtáshoz
Kiemelt információ
A viventekft@freemail.hu e-mail címen, vagy a 20/451 2377-es telefonszámon (az ár jelenleg frissítés alatt van.), kérjen pontos átadási árat .
Sajnos hibás a rendszerünk, mert kosárba tételnél rossz ár jelenik meg a termék mellett. A termékek kiszállítási díja súly, méret, és érték szerint lehet magasabb is, és akár ingyenes is. A megrendelés visszaigazolásánál tájékoztatjuk a várható szállítási költségrõl, melyet ha elfogadja, úgy élesítjük a megrendelését. A WEBÁRUHÁZUNKBAN A BEMUTATOTT KÉPEK CSAK ILLUSZTRÁCIÓK! Termékeink bruttó ára az EUR/HUF árfolyam függvényében változhat. A már megrendelt termékek Forint átadási ára nem változik. Utánvétes vásárlás 200.000-Ft ig lehetséges. E fölött csak elõreutalással történhet a fizetés. A viventekft@freemail.hu e-mail címen, vagy a 20/451 2377-es telefonszámon (az ár jelenleg frissítés alatt van.), kérjen pontos átadási árat .
Sajnos hibás a rendszerünk, mert kosárba tételnél rossz ár jelenik meg a termék mellett.
Lendkerék-lehúzó külsõ menettel 3055/4B
Unior
620279
Garancia: érdeklodjön!
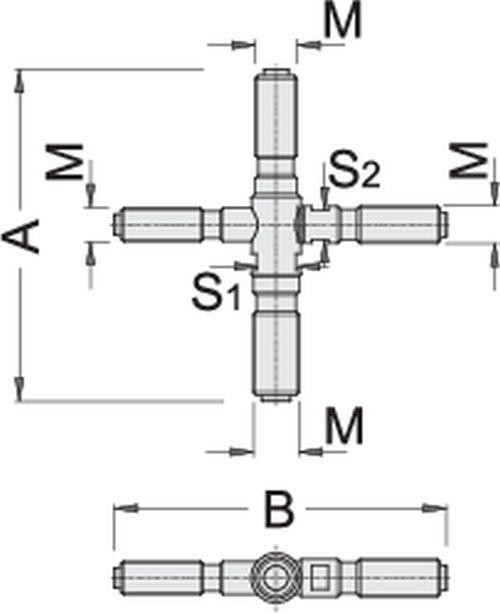
M:M16x1,5 M1:M18x1,5 M2:M20x1,5 M3:M22x1,5 S1:19 S2:14
A:161 B:161 Súly:630 gr
10 739 Ft
Anyaga: Premium Plus szénacél
Felületkezelés: feketített, DIN 50938 szabvány szerint
Minden méret jobbmenetes
A szerszámon négy különbözõ méretû külsõ menet található, így a legtöbb belsõ menetes lendkerékkel rendelkezõ motortípushoz használható.
Segítségével a lendkerék a motor kivétele nélkül eltávolítható.
Minden tengelyvég megfogható villáskulccsal, amely megkönnyíti a gyújtómágnes eltávolítását.
Belsõ menetes lendkerék eltávolításához
